立式螺帶式攪拌機
詳細介紹
● 前言
在化學工業領域,有許多高粘度流體的混合、固含量很高的膏狀物料的混合,等問題。傳統的攪拌器(如框式攪拌器、錨式攪拌器、蝸輪式攪拌器等)在這種場合不適用,或混合質量和效率十分低下。為解決上述問題,索孚公司的科技人員通過多年的研究,成功開發了LLD系列螺帶式攪拌機這種高粘流體、高固含量的混合設備。該設備廣泛應用于石化、農藥、精細化工、高分子聚合、制藥、食品、化妝品、染料、涂料、水處理等行業。
● 結構
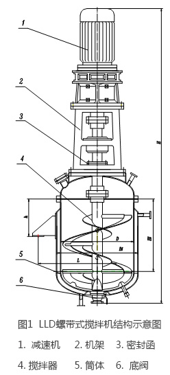
LLD系列螺帶式攪拌機結構如圖1所示,主要由擺線減速機、機架、密封函、攪拌器、筒體、底閥等組成。
● 工作原理
該機由擺線減速機直接驅動攪拌軸旋轉。攪拌軸由與筒體吻合的螺帶及實心螺旋組成,旋轉時,螺帶將物料由下向上沿反應釜筒體內壁盤旋提升。運轉時物料在其作用下產生了不規則的對流、剪切、摻混、擴散等,形成全方位的三維運動。攪拌軸的中心是一實心面體螺旋,在運轉時將靠中心的物料下壓,形成物料的大循環。如此不斷反復,使物料在短時間內達到均勻混合。
● 特點
該機除減速機外機內無任何傳動機構,對物料不產生污染,因此特別適合對衛生要求高的粉料混合,同時也使該機總體結構緊湊,占地面積小,能耗低。操作、維修方便。同時該設備還具有以下特點。
1、無混合死區。
2、混合質量好、混合效率高。
3、傳熱能力可大幅度提高。
4、適應多種復雜工藝和介質的混合要求,特別適合高粘度流體與高含固量介質的混合。
5、可采用普通夾套、螺旋板夾套或半圓盤管等傳熱方式。
● 技術參數
| 型號 | LLD-0.2 | LLD-0.5 | LLD-1.5 | LLD-3 | LLD-5 |
|---|---|---|---|---|---|
| 全容積(m3) | 0.27 | 0.8 | 1.87 | 3.65 | 6.23 |
| 有效容(m3) | 0.15 | 0.6 | 1.22 | 3.00 | 4.26 |
| 筒體直徑D(mm) | 600 | 900 |
1200 |
1500 | 1800 |
| 夾套直徑D1(mm) | 700 | 1000 | 1300 | 1700 | 1900 |
| 筒體直邊高度H1(mm) | 800 | 900 | 1200 | 1500 | 1800 |
| 總功率(kW) | 2-5 | 4-11 | 8-15 | 10-20 | 20-40 |
| 轉速(rpm) | 30-60 | 30-60 | 5-30 | 5-40 | 5-30 |
| 支座中心距L | φ992 | φ1460 | φ1760 | φ2164 | φ2470 |
| 支座孔徑n-d | 4-φ24 | 4-φ24 | 4-φ24 | 4-φ30 | 4-φ30 |
| 支座至筒蓋h | 550 | 420 | 500 | 600 | 600 |
| 外形尺寸 D1×H | φ700X2900 | φ1000X3100 | φ1300X3800 | φ1700X4600 | φ1900X5500 |
| 設備重量 | 800 | 1500 | 2200 | 4300 | 7000 |
注:1、由于物料性質和攪拌目的的不同,表中的功率、轉速等技術參數可能會有較大的變化,準確的技術參數和其他外型尺寸在訂貨后提供;2、本設備內一般為常壓,夾套壓力及材質可根據用戶要求設計。
● 訂貨須知
1、一般情況本設備材質為SUS304不銹鋼,電機采用非防爆電機,如有特殊要求請用戶在訂貨時說明;
2、如用戶需要,本攪拌機可配備電控柜和變頻調速器。
3、本說明書內容如有修改,恕不另行通知。
索孚科技公司鄭重承諾,凡購買我公司產品,一年內保修,終生維護。
功能攪拌開啟高效生產,浙江索孚中國攪拌專家,購品質設備,選浙江索孚!
浙江索孚化工設備有限公司專業生產高速分散機、研磨機、乳化機、不銹鋼拉缸,專門配套涂料,染料,顏料,油漆,油墨,膠合劑,樹脂,藥膏,化妝品,造紙,食品,橡塑,復合材料,絕緣材料,磁性材料,其它色漿等化工行業產品的液-固濕法分散、研磨、攪拌、均質、混合、溶解工藝。浙江本土分散機生產廠家,質量有保障,品質看得見, 售后就在您身邊!





